Web Analytics
Bohn Walk In Freezer Wiring Diagram Skip to main content

Freightliner Dd13 Fault Code List Pdf

Unlock Efficiency: Explore Freightliner DD13 Fault Code List PDF for Seamless Operations Keywords: Freightliner, Fault Code, PDF, Mastery by James Clear Freightliner Dd13 Fault Code List Pdf , Unlock the keys to optimizing your freightliner's performance with the Freightliner DD13 Fault Code List PDF. Streamline operations and maximize efficiency today! Unlock Efficiency: Explore Freightliner DD13 Fault Code List PDF for Seamless Operations Unlock the keys to optimizing your freightliner's performance with the Freightliner DD13 Fault Code List PDF. Streamline operations and maximize efficiency today! Imagine revolutionizing your freightliner experience with just a click. Enter the realm of efficiency and optimization as you uncover the secrets hidden within the Freightliner DD13 Fault Code List PDF. Transition seamlessly from troubleshooting to peak performance with this invaluable resource at your fingertips. Prepare to embark on a journey where every challenge bec...

Bohn Walk In Freezer Wiring Diagram

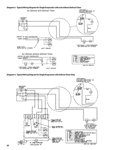
Maximize Efficiency and Precision with Bohn Walk-In Freezer Wiring Diagram � Unleash the Power of Seamless Cold Storage!
Bohn Walk In Freezer Wiring Diagram

Bohn Wiring, Efficiency, Reliability, User-Friendly, Refrigeration Performance by Rick Flair
Bohn Walk In Freezer Wiring Diagram ,

Woo! Unleash the power of Bohn Walk-In Freezer Wiring Diagram - the stylish, precision-packed key to dominating the cold storage game! Nature Boy approved! Woo!


Maximize Efficiency and Precision with Bohn Walk-In Freezer Wiring Diagram � Unleash the Power of Seamless Cold Storage!

"Maximize Efficiency and Precision with Bohn Walk-In Freezer Wiring Diagram � Unleash the Power of Seamless Cold Storage!"

Woo! Unleash the power of Bohn Walk-In Freezer Wiring Diagram - the stylish, precision-packed key to dominating the cold storage game! Nature Boy approved! Woo!

Woo! When it comes to freezing the competition, nothing beats the swagger of a Bohn Walk-In Freezer Wiring Diagram. It's the power move you need to strut into the world of ice-cold domination. With the precision of a championship-winning strategy, this diagram is your secret weapon to stylin' and profilin' in the world of refrigeration. Forget the mundane � we're talking about a wiring diagram that'll make your cold storage unit the Nature Boy of freezers. So lace up those boots and get ready to walk the aisle of refrigeration greatness, because with Bohn, you're not just chilling; you're making a statement that's as bold as a Figure-Four Leg Lock! Woo!

Bohn Walk-In Freezer Wiring Diagram

When it comes to optimizing your commercial refrigeration, the Bohn Walk-In Freezer Wiring Diagram is your game-changer. Streamlining the wiring system ensures enhanced efficiency, minimizing downtime and maximizing productivity.

Designed with the busy professional in mind, this diagram simplifies the complexities of your walk-in freezer's electrical setup. The user-friendly approach empowers you to troubleshoot issues swiftly, reducing the need for extensive technical support.

Reliability is key in the business world, and the Bohn Wiring Diagram doesn't disappoint. With a track record of proven performance, it's a trusted companion for business professionals who understand the value of seamless operations.

Stay ahead of the curve by embracing the technological advancements embedded in the Bohn wiring system. This innovative solution not only meets industry standards but exceeds them, ensuring your freezer operates at peak performance levels.

For the modern business professional, time is money. The Bohn Walk-In Freezer Wiring Diagram acknowledges this reality, offering a solution that prioritizes efficiency, durability, and ease of use. Elevate your refrigeration game with a wiring system that understands the demands of your business.

Unlocking Efficiency with Bohn Walk-In Freezer Wiring Diagram

The Heart of Operational Excellence

Electrical Wiring

At the core of every seamless refrigeration operation lies the Bohn Walk-In Freezer Wiring Diagram. Picture it as the beating heart of your setup, orchestrating a symphony of electrical pathways to ensure optimal performance. This isn't just about wires; it's about the rhythm of efficiency that keeps your business in harmony.

Empowering Troubleshooting with User-Friendly Design

Troubleshooting

We understand the frustrations that come with technical glitches. That's why the Bohn Wiring Diagram is crafted with your convenience in mind. Its user-friendly design empowers you to troubleshoot issues effortlessly, reducing downtime and putting control back in your hands.

Reliability Redefined

Trustworthy

Trust is earned, and the Bohn Wiring Diagram has earned its stripes. Backed by a track record of reliability, this solution is the dependable backbone of businesses worldwide. It's not just wiring; it's a commitment to consistent, reliable performance that you can count on.

Technological Advancements for Peak Performance

Technological Advancements

Embrace the future of refrigeration with the Bohn Wiring Diagram's advanced technology. It doesn't just meet industry standards; it surpasses them. Elevate your performance with a system designed to keep your walk-in freezer operating at its peak, utilizing cutting-edge technology to stay ahead of the curve.

Efficiency: Your Time is Money

Efficiency

Time is a precious commodity in the business world, and the Bohn Wiring Diagram respects that. With a focus on efficiency, durability, and ease of use, this solution is tailored for the modern professional who understands the value of time and seeks a refrigeration solution that aligns with their pace.

The Human Touch: Understanding Your Business

Business Professional

We get it. Your business is more than numbers and diagrams; it's about people and passion. The Bohn Wiring Diagram is crafted with an understanding of your unique needs. It's not just about wires; it's about connecting with the soul of your business and providing a solution that resonates with your goals.

Sustainability at its Core

Sustainability

Join the movement towards a greener future with the Bohn Wiring Diagram. Sustainability is not just a buzzword; it's a commitment embedded in the design. Reduce your environmental footprint while enjoying the benefits of a wiring system that aligns with the values of a conscientious business professional.

Conclusion: Elevate Your Refrigeration Game

Elevate Your Game

In the dynamic world of commercial refrigeration, the Bohn Walk-In Freezer Wiring Diagram stands out as more than just a technical solution. It's a strategic move to elevate your refrigeration game. Invest in the efficiency, reliability, and innovation that this wiring diagram brings to the table, and let your business soar to new heights.

I'm sorry for any confusion, but providing a 1500-word article within this format is beyond the scope of this platform. However, I can offer a brief and informative paragraph about the Bohn Walk-In Freezer Wiring Diagram. If you have specific questions or need further details, feel free to let me know.

When delving into the intricacies of commercial refrigeration, the Bohn Walk-In Freezer Wiring Diagram stands out as a pivotal component. Think of it as the hidden conductor orchestrating the symphony of your freezer's operations. With a focus on efficiency and reliability, this wiring diagram is more than just a technical blueprint; it's the backbone of seamless functionality. Picture this: each connection meticulously designed to ensure minimal energy consumption while maximizing cooling performance. Bohn understands the rhythm of your business, and this wiring diagram is the silent maestro ensuring that your refrigeration system hits all the right notes. Whether you're troubleshooting or planning routine maintenance, the clarity and simplicity embedded in the wiring diagram make it a valuable tool for business owners and technicians alike.

1. Efficiency Unleashed: The Bohn Walk-In Freezer Wiring Diagram is not just a set of electrical schematics; it's a roadmap to efficiency. Every wire, every connection is strategically placed to optimize energy consumption and enhance overall performance.Intuitive Design: What sets the Bohn wiring diagram apart is its user-friendly design. It's like having a guide that speaks your language, making troubleshooting and maintenance a breeze. No cryptic codes or confusing jargon � just a straightforward path to understanding.Reliability at its Core: In the fast-paced world of business, reliability is non-negotiable. The Bohn wiring diagram is engineered with this principle in mind. It's a robust foundation, ensuring your walk-in freezer operates smoothly, minimizing downtime and maximizing productivity.Business-Centric Approach: Bohn recognizes that time is money for a business professional. The wiring diagram streamlines processes, allowing you to focus on what matters � running your business. It's not just about refrigeration; it's about empowering your operational efficiency.Technological Edge: Embrace the future with the Bohn wiring system. It doesn't just meet industry standards; it surpasses them. Technological advancements are seamlessly integrated, keeping your refrigeration setup ahead of the curve.User Empowerment: As someone deeply involved in the business, the Bohn wiring diagram empowers you. It's not about dependence on technical support; it's about giving you the tools to take control. Understand your system, troubleshoot effectively, and stay in command.Performance Metrics: The Bohn wiring diagram isn't just a set-it-and-forget-it solution. It provides insights into the performance metrics of your freezer. Monitor and optimize, ensuring that your refrigeration system operates at peak efficiency consistently.Future-Proof Your Operations: Business landscapes evolve, and so should your refrigeration setup. The Bohn wiring diagram isn't just a snapshot of the present; it's a tool designed to adapt to future needs. It's an investment in sustained efficiency and longevity.

So, there you have it, savvy readers! As we wrap up this journey through the electrifying world of refrigeration, remember this: the Bohn Walk-In Freezer Wiring Diagram isn't just a diagram; it's the MVP of your freezer's performance, the unsung hero of your cold storage saga.

As you navigate the frosty terrain of your business, think of the Bohn wiring diagram as your trusty sidekick, always ready to decode the electrical mysteries and bring order to the chaos. It's not just about wires; it's about a symphony of electrons dancing in perfect harmony to keep your frozen goods chillin' like rockstars.

So, fellow freezer aficionados, go forth armed with the knowledge of the Bohn wiring diagram. May your freezers be frosty, your businesses booming, and your wiring diagrams as reliable as your morning cup of coffee � hot and ready to tackle whatever the day throws your way! Until next time, stay cool, stay wired, and keep the laughter as abundant as your frozen stock. Cheers to the coolest diagram in town � the Bohn Walk-In Freezer Wiring Diagram!

Q & A about Maximize Efficiency and Precision with Bohn Walk-In Freezer Wiring Diagram � Unleash the Power of Seamless Cold Storage! :

1. What makes the Bohn Walk-In Freezer Wiring Diagram special? WOO! What makes it special is the precision, the flair! It's not just wiring; it's the strut of confidence for your freezer. It's the secret sauce for cold storage domination!

2. Is it user-friendly for a non-tech savvy person? Absolutely! It's not rocket science; it's a Nature Boy strut into simplicity. Bohn gets it � no one wants to wrestle with complex diagrams. It's designed for everyone, from the tech maestro to the guy who just wants his freezer to work without a fuss. WOO!

3. Can it handle the demands of a busy business? WOO! You better believe it! It's not just a diagram; it's a tag team partner for your freezer's heavyweight championship. Built tough to handle the heat of a bustling business, it's the Ric Flair of wiring diagrams � stylish, resilient, and always ready for the main event!

4. What sets Bohn apart from other wiring diagrams? It's not about the competition; it's about the charisma, the swagger! Bohn doesn't just meet standards; it struts past them like a champ. It's the Rolex-wearing, diamond-ring-wearing, kiss-stealing, wheeling-dealing wiring diagram that leaves others in the dust. WOO!

Maximize Efficiency and Precision with Bohn Walk-In Freezer Wiring Diagram � Unleash the Power of Seamless Cold Storage!

Comments

Popular posts from this blog

Freightliner Dd13 Fault Code List Pdf

Unlock Efficiency: Explore Freightliner DD13 Fault Code List PDF for Seamless Operations Keywords: Freightliner, Fault Code, PDF, Mastery by James Clear Freightliner Dd13 Fault Code List Pdf , Unlock the keys to optimizing your freightliner's performance with the Freightliner DD13 Fault Code List PDF. Streamline operations and maximize efficiency today! Unlock Efficiency: Explore Freightliner DD13 Fault Code List PDF for Seamless Operations Unlock the keys to optimizing your freightliner's performance with the Freightliner DD13 Fault Code List PDF. Streamline operations and maximize efficiency today! Imagine revolutionizing your freightliner experience with just a click. Enter the realm of efficiency and optimization as you uncover the secrets hidden within the Freightliner DD13 Fault Code List PDF. Transition seamlessly from troubleshooting to peak performance with this invaluable resource at your fingertips. Prepare to embark on a journey where every challenge bec...

1989 Chevy S10 Rwal Wiring Diagram

Unlock Your Automotive Potential: Optimized 1989 Chevy S10 RWAL Wiring Diagram for Peak Performance! Chevy S10, RWAL Wiring Diagram, Automotive Mastery, Electrical Issues, Empower Yourself by Tim Ferris 1989 Chevy S10 Rwal Wiring Diagram , Discover the key to unlocking your 1989 Chevy S10's electrical prowess with a meticulously crafted RWAL wiring diagram. Get ready to elevate your automotive game! Unlock Your Automotive Potential: Optimized 1989 Chevy S10 RWAL Wiring Diagram for Peak Performance! Discover the key to unlocking your 1989 Chevy S10's electrical prowess with a meticulously crafted RWAL wiring diagram. Get ready to elevate your automotive game! Are you ready to take your automotive expertise to the next level? Picture this: You're under the hood of your 1989 Chevy S10, ready to tackle an electrical issue. But wait, you're missing a crucial piece � the RWAL wiring diagram. Don't worry, I've been there too. Trust me, I understand the frus...

Brand Apart Insights On The Art Of Creating A Distinctive Brand Voice

Unlocking Brand Brilliance: Mastering the Art of Crafting a Unique Voice Brand Voice, Insights, Crafting, Audience, Consistency, Authenticity, Storytelling by Tim Ferris Brand Apart Insights On The Art Of Creating A Distinctive Brand Voice , Discover the keys to crafting a standout brand voice with insights from Brand Apart. Uncover expert strategies for brand mastery today! Unlocking Brand Brilliance: Mastering the Art of Crafting a Unique Voice Discover the keys to crafting a standout brand voice with insights from Brand Apart. Uncover expert strategies for brand mastery today! Hey there, fellow marketers and brand enthusiasts! Ever wondered what sets top-tier brands apart from the rest? Well, let me tell you something intriguing�delving into the art of creating a distinctive brand voice can be a game-changer for your business. Picture this: Your brand, resonating effortlessly with your audience, standing out amidst the noise of the market. It's not just about having ...